Suzuki Motorcycles Considering Electric Two-Wheelers For The Indian Market

The electric vehicle space is the new up-and-coming segment in the Indian automobile market, particularly in the two-wheeler space. While the space is currently dominated by start-ups Suzuki Motorcycles India could join the likes of Bajaj and TVS in the space in the future. Speaking to carandbike on the sidelines of the 62nd SIAM Annual Convention, Devashish Handa, Executive Vice President, Sales, Marketing and After Sales, Suzuki Motorcycle India Pvt. Ltd revealed that the company was considering an electric scooter for India though there were concerns over the existing infrastructure in place as well as cost.
Speaking to carandbike, Handa said, “At this point in time we are actively looking at that space (EV). It would not be proper for me to say that we are going to come out with an electric vehicle almost immediately. But yes, we are looking at the space and we feel that there are a lot of certainties, uncertainties which are still around the overall EV ecosystem. No doubt that the FAME II subsidy has given a fillip to the category. So far our experiences I don't mean to say that the projections being made are wrong, but so far, the initial customer response, if you look at it compared to a low base on percentage terms, it looks (like) fantastic growth, but the penetration is much, much lower than what one had expected when FAME II was introduced.”
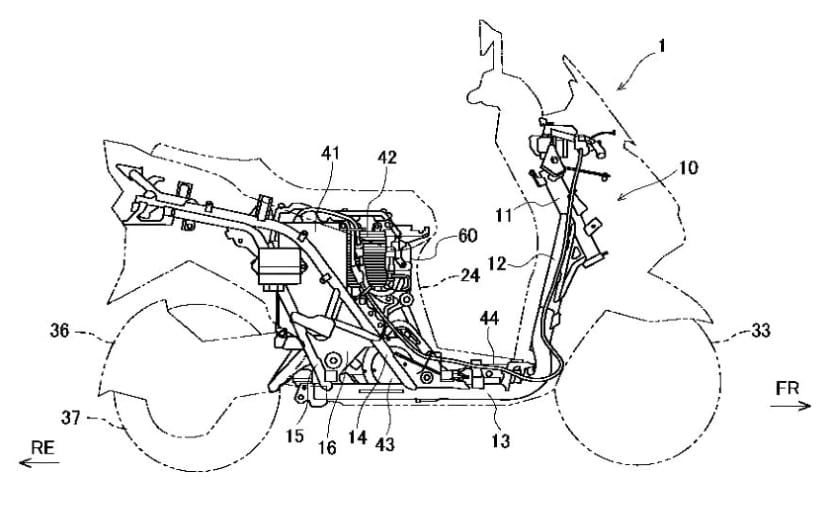
Also read: Suzuki Burgman Street Electric Scooter Revealed In Patent Images
A test mule of an all-electric Suzuki Burgman has been spied testing on Indian roads in recent years
Handa attributed the lower-than-expected penetration of EVs in the Indian market to technology and ecosystem constraints.
“Capability wise we are capable. In the parent organisation, the capability exists to develop an electric scooter. It has been done in the past as well. So that is not the issue. We are more concerned on the business case,” Handa said.
Also Read: Suzuki Burgman Street Electric Spotted On Test Yet Again
Handa cited the cost of ownership for EVs as being a stumbling block with the prices becoming attractive only post subsidies offered by the government. He added that it was uncertain if the subsidies would be carried forward following the elapse of the timeline of the scheme. The FAME II scheme was introduced in 2019 originally for a period of 3 years which was further extended by another 2 years.
An all-electric version of Suzuki's Burgman maxi-styled scooter has been spotted testing on Indian roads as far back as 2020. More recently, patents related to the scooter were revealed showing parts of the running gear of the powertrain.
Latest News
car&bike Team | Feb 2, 2026Car Sales January 2026: Six Marutis in Top 10, But Tata Nexon Takes Top SpotTata Motors sold 23,365 units of the Nexon, creating a clear gap to the Maruti Suzuki Dzire, which finished second with 19,629 units.1 min read
car&bike Team | Feb 2, 2026Maruti Suzuki Victoris Crosses 50,000 Sales Milestone In 4 monthsThe compact SUV launched at the onset of festive season has crossed the 50,000 sales mark in about 4 months1 min read
car&bike Team | Feb 2, 2026Two-Wheeler Sales January 2026: Hero MotoCorp, TVS, Royal Enfield, Suzuki Report Sustained GrowthMost brands have reported year-on-year growth in the first month of CY26.2 mins read
car&bike Team | Feb 2, 2026Maruti Suzuki Announces Price Protection Amid Long Waiting PeriodsCountry’s largest carmaker has said that prices of the cars will not be increased for customers who have already made the bookings1 min read
Jafar Rizvi | Feb 2, 2026Yamaha EC-06 vs River Indie: How Different Are The Two Electric Scooters?The EC-06 shares its foundation with the River Indie, and here we look at the differences between the two.3 mins read
Jafar Rizvi | Feb 2, 2026Yamaha EC-06 E-Scooter Launched In India At Rs 1.68 LakhThe EC-06 marks Yamaha’s entry into the electric scooter segment in India.2 mins read
Preetam Bora | Feb 2, 2026TVS NTorq 150 Road Test Review: Bigger, Better & More Efficient!We test the new TVS NTorq 150 out in the real world to get a sense of what it offers in terms of performance, dynamics and fuel economy.7 mins read
Bilal Firfiray | Jan 21, 2026Tata Punch Facelift Review: New Turbo Engine; Same Old SoulWith the update, the Tata Punch facelift retains its character of being a healthy runabout, which is perfect for Indian roads. But have these changes made it any better?7 mins read
Amaan Ahmed | Jan 17, 2026Bajaj Chetak C25 First Ride Review: Basic, Likeable E-Scooter For First-Time RidersThe Chetak C25, in quite a few ways, is poles apart from the larger and more powerful 30 and 35 Series models, but in its mannerisms, it is very much a Chetak.8 mins read
Bilal Firfiray | Jan 9, 2026Toyota Urban Cruiser Hyryder: 10,000 km Long-Term ReviewAfter spending over three months and 10,000 km with the Toyota Urban Cruiser Hyryder Hybrid, we were impressed by its real-world mileage, seamless hybrid, practical comfort, and Toyota reliability. Is it the best C-SUV then?5 mins read
Seshan Vijayraghvan | Jan 8, 20262026 Mahindra XUV 7XO Review: Big On Tech, Bigger On ComfortThe new Mahindra XUV 7XO is flashier, feature packed, and comes with more advanced tech. But are the changes just incremental or actually substantial?1 min read





















































































































