Kawasaki Patents Reveal Supercharged Two-Stroke Engine

- Patent images reveal a series hybrid engine with a two-stroke engine
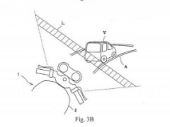
- The two-stroke engine has poppet valves and a crossplane crank
- There's no indication yet if the engine will be used on a motorcycle
Two-stroke engines may be long gone from new production motorcycles, but looks like Kawasaki is looking at reviving two-stroke engines with a host of innovations that will make it future proof. Patent images filed with the Japanese Patent Office shows a supercharged four-cylinder, two-stroke crossplance engine with poppet valves, and double overhead camshafts. But it's also a series hybrid power system, rather than the more commonly used parallel hybrids which are in production hybrid cars. A series hybrid uses electric power to drive the wheels, with a combustion engine simply used to generate the electricity needed.
Also Read: Kawasaki Patent Images Reveal Predictive Electronics

The design is of a series hybrid engine which uses a two-stroke internal combustion engine
So, the combustion engine in series hybrid car engines is a relatively low-powered unit, providing some extra charge to the batteries to boost range. But Kawasaki's design is to use a high performance engine instead of a low-powered engine which just tops up the battery. And the two-stroke will be efficient and clean, because it has been designed to operate at its most efficient speed, and within a limited rev band. The unit is fitted with a supercharger which will increase the air pressure in the intake and also help the engine expel the gases quickly.
Also Read: Kawasaki Working On Camera-Based Adaptive Cruise Control

The crossplane crank allows only one piston to be fired every 360 degrees, offering smooth operation of the engine
And instead of using ports, as is used in conventional motorcycle two-stroke engines, the new design uses valves mounted at the top of the combustion chamber, opening them both at the same time, allowing fresh air to be drawn in and exhaust gases to be expelled in one action. So, in the Kawasaki design, it features poppet valves like a four-stroke engine, complete with double overhead camshafts. It's just the combustion cycle that's changed from four-stroke to two-stroke.
Also Read: Kawasaki Patents Reveal New Three-Wheeled Vehicle
The engine has a crossplane crank and a 1,3,2,4 firing order, with each piston producing power every time the crank rotates one full circle, or 360 degrees. The crossplane crank helps run the engine smoothly, with no two pistons firing at the same time. Now, the patents filed is only for the engine, so there's no confirmation on if such a series hybrid engine will make it to a motorcycle. And the patent also says that this system could be used as outboard motors on watercraft, and even buggies. So, the jury is still out on if we'll see a motorcycle with an engine like this.
Latest News
car&bike Team | Feb 26, 2026JSW Motors Teases Its First SUV For India; To Be Based On Jetour T2The JSW Group is looking to enter the Indian automobile sector under its own name while also operating the JSW MG Motor India joint venture.2 mins read
car&bike Team | Feb 26, 2026Next Mahindra Electric SUV Launch Confirmed For 2027Mahindra has confirmed that the BO7, production version of the BE.07 concept will arrive in CY27.2 mins read
car&bike Team | Feb 26, 2026New Bajaj 125-250cc Brand To Be Launched SoonRajiv Bajaj, Managing Director of Bajaj Auto, has said that a new 125-250 cc Bajaj motorcycle brand will be launched in this calendar year.1 min read
Jaiveer Mehra | Feb 26, 2026New Renault Duster India Launch On March 17Unveiled in India last month, the new Duster will arrive with a pair of turbo-petrol engine options, with a strong hybrid to join the line-up later in the year.2 mins read
Carandbike Team | Feb 26, 2026BKT Tyres Launched On-Highway Tyre Portfolio for Two-Wheelers & Medium & Heavy Commercial VehiclesBalkrishna Industries Limited (BKT), showcased ZENOVA & THYROS tyre lines for Two-Wheelers and announced Q1 launch for m.LOADXPERT & MILEXPERT On-Highway tyres for Medium and Heavy Commercial Vehicles.1 min read
car&bike Team | Feb 25, 2026Jio-bp Demonstrates Petrol With ACTIVE TechnologyUnveiled at India Energy Week 2026, the formulation helps keep engines cleaner, improve efficiency, and deliver enhanced performance, without additional cost to customers.2 mins read
Preetam Bora | Feb 24, 2026Hero Destini 110 Review: Simplicity, RefinedThe Hero Destini 110 is a no-nonsense commuter that is simple, comfortable and above all, fuel efficient. In 2026, when buyers are spoilt for choice, is it good enough to consider?1 min read
Preetam Bora | Feb 23, 2026TVS Apache RTX Road Test Review: Redefining the Entry-Level ADVAfter spending some time with the TVS Apache RTX in traffic, the daily commute, as well as on open highways, one thing becomes clear: the RTX is trying to redefine the entry-level ADV segment. But is it without fault?1 min read
Girish Karkera | Feb 20, 2026Road Test: 2025 VinFast VF7 AWD Sky InfinityFlagship all-electric SUV from the Vietnamese car maker gets most of the basics right.1 min read
Jaiveer Mehra | Feb 18, 2026New BMW X3 30 Vs Mercedes-Benz GLC 300: Midsize Luxury SUV FaceoffWith the new X3 30, BMW has a direct competitor to the petrol GLC 300, but which is the luxury SUV for you?1 min read
Jafar Rizvi | Feb 15, 2026Maruti Suzuki Victoris: Long-Term Review - Report 1The Victoris is Maruti’s latest offering for the Indian market, and after spending some time with it, here are a few early impressions.1 min read






















































































































